RÉCEPTEUR GONIO (OU INDICATEUR DE CHAMP) VHF

  

© F6ETI , Philippe MARTIN 9901

HISTOIRE

C'est à la suite de l'annonce en 1998 par Analog Device de la sortie de l'AD8307, amplificateur logarithmique de 92 dB de dynamique pouvant monter jusqu'à 500 MHz et génial circuit aux multiples applications que l'idée m'est venue de re-travailler sur un récepteur simple et efficace pour les chasses aux renards, notamment en champ proche.

J'avais déjà monté il y a bien longtemps un récepteur décrit par DL1BE dans UKW Berichte 1/81. Il avait une sensibilité convenable pour cette activité et comportait un réglage de gain de l'ampli HF qui permettait d'arriver avec le nez de l'antenne sur celle du "renard".

Il s'agissait d'un récepteur à amplification directe à deux étages du signal issu de l'antenne,  redressement du signal, et après amplification en continu et adaptation d'impédance, alimentation d'un galvanomètre indicateur du niveau de réception. Un contrôle manuel de la chaîne d'amplification permettait très efficacement d'éviter la saturation du récepteur en champ proche, ce qui est le cas de la plupart des récepteurs conventionnels qui comportent un changement de fréquence.

Ne comportant pas de changement de fréquence comme dans tous les récepteurs conventionnels, sa construction était plus à la portée d'un débutant qui maîtrisera difficilement la réalisation d'un VFO mécaniquement et électriquement stable, dont dépend grandement la stabilité du montage. Sans parler des re-rayonnements mutuels entre récepteurs lorsqu'une faible FI (455 kHz et un boîtier "plastique" sont utilisés.

Le seul soin à apporter était dans la réalisation des circuits accordés qui donnent sa sélectivité à l'ensemble. Celle-ci était largement suffisante (1 à 2 MHz) pour des chasses en campagne, tout au plus profitait-t-on du trafic aérien qui pouvait surplomber les lieux. Il est évident que tout trafic local sur la bande 145 MHz "brouillait l'écoute" de ce récepteur et de son utilisateur.

L'avantage de ce type de récepteur, compte tenu de sa bande passante et du fait qu'il ne comporte pas de changement de fréquence, est que l'on s'affranchit complètement du calage sur la fréquence des balises, pour peu qu'elles soient dans la bande 145 MHz. La seule action est de jouer d'une main avec le gain pour le maintenir toujours au bon niveau et avec l'antenne de l'autre main pour rechercher la bonne direction. Pour les sceptiques, même en présence de balises multiples émettant simultanément, il est toujours possible de jouer de l'oreille et du gain pour se découpler. Aucun problème lorsqu'elles émettent à tour de rôle.

Ce montage avait néanmoins l'inconvénient d'utiliser une alimentation symétrique à l'aide de deux piles pour contrôler le gain, et la plage de lecture de son "s/mètre" n'avait pas une grande dynamique, et dépendait du contrôle du gain. Par ailleurs, comme il ne disposait pas de sortie BF pour écouter le signal, nous avions avec F6DHL rajouté un LM386 qui améliorait sensiblement les performances du récepteur car un signal de l'ordre du microvolt commençait à être bien perceptible, et son utilisation était alors possible bien plus loin qu'en champ proche et devenait presque équivalente à celle d'un récepteur conventionnel du point de vue de la sensibilité.

 

PRINCIPE - FONCTIONNEMENT

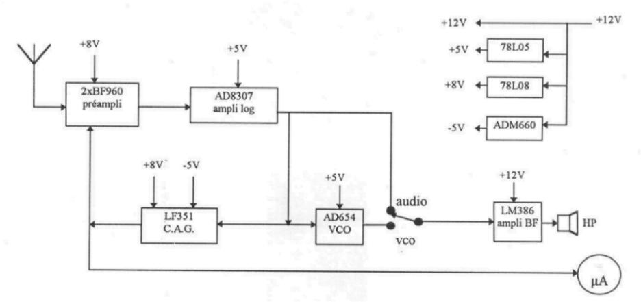
N'ayant pas trouvé d'amplificateur contrôlable intégré montant à 150 MHz (du type de l'AD603, mais qui ne monte qu'à 90 MHz), le principe originel de la tête HF à deux transistors BF960 commandée par une CAG a été conservé, et il a été complété par un ampli logarithmique AD8307. Le niveau de la tension de sortie continue de celui-ci, fonction du niveau du signal HF reçu, permet alors:

de fournir à un ampli BF LM386 la modulation d'amplitude de la HF démodulée(*).

-  de commander un VCO BF AD654 dont la note sera fonction du niveau HF reçu et pourra être appliquée à l'ampli BF.

de commander un ampli opérationnel LF351 qui génère la tension de CAG appliquée aux deux BF960 de l'étage HF. La dynamique de cette tension de CAG est telle qu'elle permet une plage de contrôle du gain sur plus de 120 dB.

(*)La tension issue de l'AD8307 ayant l'avantage d'être modulée en amplitude lorsque le signal reçu l'est également, il suffit de l'amplifier dans un LM386 pour entendre la modulation (en amplitude) du signal reçu.

Ce récepteur permet donc de faire des "mesures" de champ. S'il a la particularité de démoduler les signaux AM, il ne différencie pas un signal non modulé d'un signal modulé en fréquence.

La tension négative nécessaire à la CAG est obtenue grâce à un convertisseur continu-continu ADM660  qui fournit du -5 volts.

Compte tenu de l'efficacité de la CAG, l'amplitude de la BF démodulée est quasiment constante au delà de quelques microvolts. Elle est donc difficilement utilisable à partir de là pour percevoir des variations de niveau à l'oreille et orienter l'antenne, seule l'observation simultanée du s/mètre assurant l'indication du maximum de réception. Aussi, afin d'avoir une indication auditive du niveau de réception, un VCO (voltage controled oscillator) AD654 commandé par la sortie de l'ampli log a été rajouté. Ainsi on entendra une note BF dont la fréquence sera fonction du niveau HF reçu (de 750 Hz environ en l'absence de signal jusqu'à 3 kHz environ pour 13 dBm (20mW!). Ce qui permet de ne s'occuper que de la direction de l'antenne et chercher toujours la note la plus aiguë possible.

De plus, un signal manipulé en télégraphie A1A sera entendu comme un signal (balise) F1A démodulé dans un récepteur BLU (mais on ne peut pas faire de battement nul pour se caler!) .

Un inverseur permet toutefois de sélectionner la BF démodulée ou celle issue du VCO pour déterminer quel est le signal reçu en cas d'émissions multiples.

Autres avantages de ce montage dont le gain global est très important, il n'y a aucun accrochage HF et il est complètement passif (le seul élément rayonnant pourrait être le convertisseur CC-CC!).

Le circuit du récepteur tient dans un boîtier Schubert 145x35x30 qui comprend le connecteur d'antenne et dont les traversées se font par des by-pass, ce qui le rend complètement étanche. Le montage est réalisé sur un circuit double face et en composants montés en surface pour les condensateurs, les résistances et l'AD8307. Cette technique est très facile à mettre en œuvre, elle simplifie grandement la réalisation des circuits imprimés qui ont besoin de beaucoup moins de perçages, et permet des montages compacts. Les pattes non utilisées des selfs 5061 seront retirées. Le boîtier récepteur sera intégré dans un petit coffret qui comprendra les commandes, le haut-parleur, un jack casque, le s/mètre, les piles, et laissera dépasser le connecteur d'antenne.

Ce récepteur peut avoir bien d'autres usages que la chasse aux renards (pardon, radiogoniométrie sportive (ou cool)). Il peut aider efficacement à la localisation de brouilleurs et autres boites de conserves, servir d'indicateur de champ pour comparer des antennes etc... Pour en faire un récepteur sur 121,5 MHz il suffit de rajouter quelques picofarads sur les circuits accordés et de réaligner l'ensemble.

Un signal modulé en amplitude à 75% commence à être perçu vers 0,22 microvolt (-120 dBm), le s/mètre (donc la CAG) commence à décoller vers 0,63 microvolt (-111 dBm). La CAG agit donc entre un peu moins de -110dBm et jusqu'à +13 dBm (j'ai pas monté les BF960 sur des radiateurs!), tout ça sur l'échelle unique du s/mètre. L'ensemble est alimenté sous 12 volts (ou 3 piles de 4,5V en série), il consomme 35 mA au repos et jusqu'à 100 mA en présence d'un signal modulé en AM et BF à fond. La bande passante à - 3 dB est de l'ordre de 1 MHz, elle est d'environ 12 MHz à - 30 dB.

L'ampli BF (LM386) est alimenté directement par le 12 V. Le circuit d'alimentation comporte deux régulateurs. Un 78L08 alimente l'étage d'entrée et la broche positive de l'alimentation du LF351. Un 78L05 alimente l'ampli log, le VCO, le convertisseur continu-continu et la broche d'alimentation négative du LF351. La dissymétrie de l'alimentation de ce dernier est volontaire de manière à ce que sa tension de sortie puisse varier de plus de 7V (gain max) à moins de - 3V (désensibilisation max) pour contrôler complètement les étages d'entrée.

 

RÉGLAGES

La tension de la CAG sera réglée pour obtenir 6 V à la broche 6 du LF351 en l'absence de signal, elle doit descendre à moins de -2,5 V avec 0 dBm (223 mV) à l'entrée.

Régler les noyaux des quatre selfs pour un maximum de réception.

La sensibilité du galvanomètre sera réglée pour obtenir une déviation maximum avec 13 dBm à l'entrée (1 Volt).

Le réglage du VCO sera effectué pour obtenir une note de 3 kHz avec 13 dBm à l'entrée, sans signal elle doit redescendre aux alentours de 750 Hz.

 

SYNOPTIQUE DU RÉCEPTEUR

synoptique.jpg (25625 octets)

Bibliographie:

-AD8307, Low cost DC-500 MHz, 92 dB Logarithmic amplifier, http://www.analog.com . De nombreux exemples d'utilisations sont décrites dans la note d'applications (wattmètre à grande dynamique, s/mètre digne de ce nom etc... . Fournisseur: Dimacel (en 1999).

-Nahfeld-Peiler für das 2-m-Band ,DL2DE, UKW Berichte 1/81

 

CIRCUIT IMPRIMÉ

(Désolé, je ne sais pas faire les implantations, mais le circuit suit le schéma! Sauf l'AD8307 qui est monté en surface, les autres C.I. sont vus de dessous, la patte 1 est repérée par une pastille ronde.) . Le cuivre mesure 34,5 x 145 mm, et rentre dans un boitier Shubert 37x148x30mm.

 

(Le circuit est à l'échelle 1 : 34,5x145mm)

 

SCHÉMA ELECTRIQUE

CÂBLAGE DE L'ENSEMBLE

NOMENCLATURE DES COMPOSANTS

  

rxgonio1.JPG (50147 octets)

rxgonio4.JPG (19659 octets)

rxgonio5.JPG (15889 octets)

rxgonio2.JPG (25646 octets)

rxgonio3.JPG (21742 octets)


RÉALISATIONS

 

[ PH-MARTIN] [ F6ETI - F8BPN ] [ F6ETI ] [ F8BPN ]